[email protected] |   080 539-3883 |  

Piston Ring and Connecting Rod Manual – Kubota V2203


Kubota V2203 Piston Ring for Generator set
Kubota V2203 ConnectingRod for Generator set

1. Remove the piston rings (1), (2), (3) using a piston ring tool
2. Remove the piston pin (9), and separate the connecting rod (7) from the piston (6) (When reassembling)

- When installing the rings, assemble the rings so that the manufacturer's marks (12) near the gap faces the top of the piston (6)
- When installing the oil ring (3) onto the piston (6), place the expander joint (10) on the opposite side of the oil ring gap (11)
- Apply engine oil to the piston pin (9)
- When installing the connecting rod (7) to the piston (6), immerse the piston (6) in 80c(176F) oil for 10 to 15 minutes and insert the piston pin (9) to the piston (6)
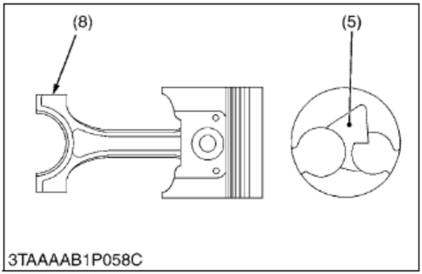
- When installing the connecting rod (7) to the piston (6), align the mark (8) on the connecting rod (7) to the fan-shaped concave (5).

NOTE : Mark the same number on the connecting rod (7) and the piston (6). Do not change the combination.

(1) Top Ring
(2) Second Ring
(3) Oil Ring
(4) Piston Pin Snap Ring
(5) Fan-Shaped Concave
(6) Piston
(7) Connecting Rod
(8) Mark
(9) Piston Pin
(10) Expander Joint
(11) Oil Ring Gap
(12) Manufacturer's Mark


Kubota V2203 Piston Ring for Generator set
Kubota V2203 Piston Ring for Generator set
Kubota V2203 Piston Ring for Generator set
Kubota V2203 Piston Ring for Generator set
Kubota V2203 Piston Ring for Generator set


For Kubota V2203 parts, call us or email [email protected]

.